Wednesday April 2026

হটলাইন

সেবা এবং ধাপ

নং শিরোনাম সেবার ধাপ কার্যকলাপ
  
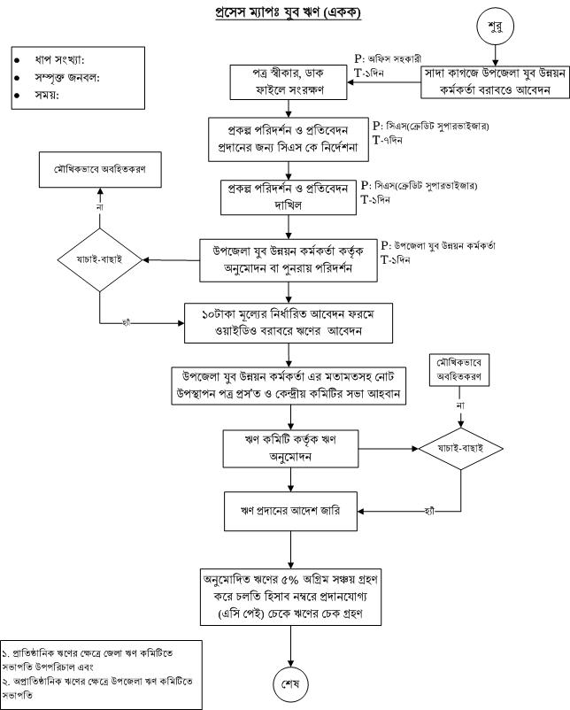
যুব ঋণ প্রদান দেখুন
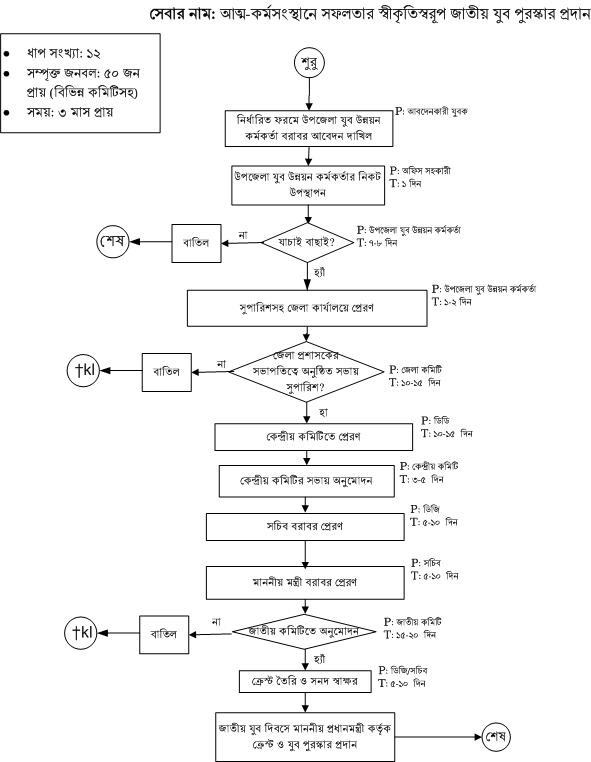
আত্ম কর্মসংস্থানে সফলতার স্বীকৃতিস্বরূপ জাতীয় যুব পুরস্কার দেখুন
যুব সংগঠন তালিকাভুক্তিকরণ দেখুন
যুব সংগঠনের মাঝে অনুন্নয়ন খাতের অনুদান প্রদান দেখুন
বেকার যুবকদের প্রশিক্ষণ দেখুন
বেকার যুবকদের দক্ষতা বৃদ্ধিমূলক প্রশিক্ষণ দেখুন
দেখছেন ১ থেকে ৬ পর্যন্ত, মোট ৬ এন্ট্রি

এক্সেসিবিলিটি

স্ক্রিন রিডার ডাউনলোড করুন